Apple запатентовала стойку для двух мониторов Pro Display XDR

Apple получила патент на стойку, позволяющую закрепить на ней два монитора Pro Display XDR. Оригинальная подставка для одного такого дисплея стоит на официальном сайте тысячу долларов, поэтому решение сразу для двух мониторов может обойтись пользователям в разы дороже.

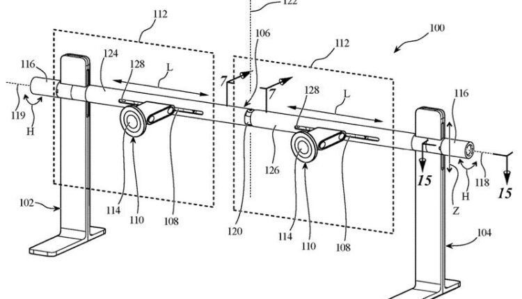
Портал Patently Apple сообщил, что купертиновцы получили патент на подставку, которая позволяет разместить на столе сразу два профессиональных монитора Pro Display XDR. Издание сообщает, что обычно пользователи используют для этих целей две разные подставки или специальные кронштейны. Зачастую такие конструкции не позволяют регулировать высоту сразу двух мониторов и занимают много места на рабочем столе.

Решение Apple предлагает стойку на двух ногах, на поперечной трубе которой крепятся сразу два монитора. Высоту мониторов можно регулировать, опуская и поднимая трубу. При этом меняется высота сразу двух мониторов. Также пользователь может регулировать расстояние между мониторами. В центре трубы установлен шарнир, который позволяет регулировать угол между мониторами.

ЧИТАТЬ ТАКЖЕ:  Нержавійка, мідь чи скло: переваги та недоліки різних матеріалів для самогонного апарата

СМИ отметили, что если компания выпустит такую стойку, то она не будет массовым продуктом. Один монитор Pro Display XDR на сайте Apple стоит 5 тыс. долларов, а фирменная подставка обойдётся в дополнительную тысячу долларов. Таким образом, цена рабочего места из двух таких мониторов без учёта машины составляет 12 тыс. долларов. С новой стойкой подобное решение обойдется в разы дороже.

Комментарии закрыты.